WTZK-50-C船用壓力式溫度控制器
發布時間:2015-01-29 07:51:18 點擊:1282

產品詳細:
簡介:
WTZK-50-C溫度控制器采用帶毛細管溫包式的傳感器。可用于對銅和銅合金無腐蝕作用的氣體、蒸汽等氣體介質或液體介質。控制器的設定值可調,調節范圍-60~170℃。WTZK-50-C采用鑄鋁殼體,為防水型。WTZK-50-C溫度控制器滿足船用條件。WTZK-50采用酚醛壓塑粉殼體,為普通型。
主要技術性能:

規格:切換差可調

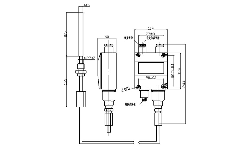
尺寸圖

下一篇:YWK-50-C船用壓力控制器
